سفارشی کنتور آب سرد از نوع خشک چند جت خانگی تامین کنندگان، کارخانه OEM/ODM - Ningbo Jingcheng Technology Co, ltd.

کنتور آب سرد از نوع خشک چند جت خانگی

خانه / محصول / آب مکانیکی / کنتور آب سرد از نوع خشک چند جت خانگی

KM05-01

کنتور آب سرد از نوع خشک چند جت خانگی

اتخاذ حرکت چرخ ون ، ثبت نام خشک پلاستیک ، تنظیم داخل و بدنه برنجی با کیفیت بالا ، تأیید ISO4064 و پوشش DN15-DN50.

با ما تماس بگیریدکنتور آب سرد از نوع خشک چند جت خانگی
کنتور آب سرد از نوع خشک چند جت خانگی

شرح

1. برنامه

اندازه گیری ، حفظ و نمایش مصرف آب که از خط لوله عبور می کند.

2. ویژگی ها

● نوع چند جت را اتخاذ کنید.

reform ثبت نوع خشک ، درایو مغناطیسی ، تداخل ضد مغناطیسی ، ضد انجماد ، خواندن روشن طولانی مدت ، اثبات دستکاری.

● مواد: برنج ، آهن ، بدنه پلاستیکی برای گزینه.

valve دریچه غیر برگشتی در دسترس است.

● تحت تأثیر ذرات و ذرات.

● با مهر و موم سرب و ضد گرد و غبار تهیه شده است.

● تأیید به ISO4064.

● برای IP68 موجود است.

3. منحنی از دست دادن سر



4. منحنی خطای دقت



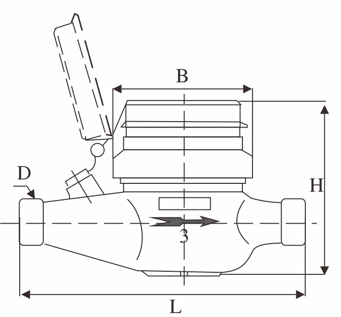
5. بعد نصب

شماره مورد

سعادتXSG-15

LXSG-20

LXSG-25

LXSG-32

LXSG-40

L1

مگنی

165

190

225

230

245

L

مگنی

260

295

345

350

375

سخنرانی

مگنی

110

110

115

115

115

حرف

مگنی

98

98

110

110

110

موضوع اتصال

د (میلی متر)

G3/4 "

G1 "

G1 1/4 "

G1 1/2 "

G2 "

د (میلی متر)

R1/2

R3/4

R1

R1 1/4

R1 1/2

وزن

با اتحادیه ها (کیلوگرم)

بدون اتحادیه (کیلوگرم)

1.2

1.4

1.8

2

2.5


6. داده های فنی اصلی

شماره مدل

LXSG-15

LXSG-20

LXSG-25

LXSG-32

LXSG-40

قطر اسمی (DN) [MM]

15

20

25

32

40

نسبت Q3/Q1

R80

R100

R160

R80

R100

R160

R80

R100

R160

R80

R100

R160

R80

R100

R160

سرعت جریان اضافه بار (Q4) [m³/h]

3.125

3.125

3.125

5

5

5

7.875

7.875

7.875

12.5

12.5

12.5

20

20

20

سرعت جریان دائمی (Q3) [m³/h]

2.5

2.5

2.5

4

4

4

6.3

6.3

6.3

16

16

16

25

25

25

سرعت جریان انتقالی (Q2) [m³/h]

0.05

0.04

0.025

0.08

0.064

0.04

0.126

0.1008

0.063

0.2

0.16

0.1

0.32

0.256

0.16

حداقل سرعت جریان (q1) [m³/h]

0.03125

0.025

0.015625

0.05

0.04

0.025

0.07875

0.063

0.039375

0.125

0.1

0.0625

0.2

0.16

0.1

کلاس دقت

2

حداکثر خطای مجاز برای منطقه سرعت پایین تر (MPEι)

5 ٪

حداکثر خطای مجاز برای منطقه سرعت بالایی (MPEμ)

2 ± 2 ٪ برای آب داشتن دما ≤30
± 3 ٪ برای آب داشتن درجه حرارت 30 ℃

درجه حرارت

T30 ، T50

کلاس های فشار آب

نقشه 16

کلاسهای از دست دادن فشار

△ P63

دامنه [m³]

99 999

وضوح دستگاه نشان دهنده [M³]

0.00005

کلاس های حساسیت به پروفایل جریان

U10 D5

محدودیت جهت گیری

افقی

با ما در تماس باشید

Send Message
آب مکانیکی

ما کی هستیم؟

Ningbo Jingcheng Technology Co.,Ltd.

Ningbo Jingcheng Technology Co.,Ltd. در پارک سرمایه گذاری زیبای جیانگ بی، نینگبو، چین واقع شده است. این یک شرکت جامع با فناوری پیشرفته است که تحقیق و توسعه علمی، تولید، فروش و خدمات را ادغام می کند. این شرکت در سال 2002 به عنوان تولید کننده و صادر کننده کنتور آب برای بیش از 22 سال تاسیس شد. این کارخانه با مساحت 40 هکتار (30000 متر مربع) 200 کارمند، 100+ نوع محصول، ظرفیت محصول 5 میلیون در سال را پوشش می دهد. طیف محصولات آن شامل تک جت، چند جت، نوع پیستون حجمی، نوع Woltma، کنتور آب هوشمند کارت آی سی، آب کن کنترل از راه دور، کنتور آب کنترل از راه دور مستقیم قرائت الکتریکی، کنتور آب تصفیه شده و کنتور آب اولتراسونیک است که مطابق با استاندارد بین المللی ISO4064B، C، D درجه است. ما با شرکت های زیادی در داخل و خارج از کشور همکاری داریم. بازارهای خارجی اصلی ما آسیا، آفریقا، اروپا، آمریکای جنوبی و غیره هستند.
"دائماً پیشرفت می کند ، اصرار بر اخلاص و حسن نیت" هدف ماست. ما از ISO9001: 2015 سیستم مدیریت کمیت و ISO14001: 2015 گواهینامه های سیستم محیط زیست ، ISO 45001: 2018 سیستم مدیریت ایمنی شغلی اشغال ، روشهای کنترل کیفیت و کیفیت و مدیریت عملکرد و مدیریت عملکرد ، و علاقه کاربران زیادی را تضمین کرده ایم.
در پس زمینه توسعه صنعت آب Ningbo ، Jingcheng Meter به طور فعال تحقیق و تولید محصولات جدیدی را ارائه می دهد که تقاضای بازار و الزامات حفاظت از محیط زیست را برآورده می کند ، و نظرات مطلوبی را از طرف مشتریان جدید و قدیمی دریافت می کند. به دنبال ایده عملیاتی "فناوری و خدمات با کیفیت خوب و صمیمانه" ، ما آماده هستیم تا محصولات و خدمات با کیفیت بالا را برای چشم اندازهای روشن با شما در اختیار شما قرار دهیم.

افتخارات و صلاحیت ها

هر گواهینامه شاهد تخصص ما بوده است.

بیشتر کاوش کنید
Ningbo Jingcheng Technology Co.,Ltd.

اخبار ما

اطلاعات شرکت را دنبال کنید و روندهای صنعت را درک کنید.

بیشتر کاوش کنید
Ningbo Jingcheng Technology Co.,Ltd.